新鄉市泓博緣機械有限公司
聯系人:趙經理 15670558987
電話:0373-3335055
傳真:0373-3335055
郵箱:zwp0066@126.com
地址:新鄉市經濟開發區新輝路北
網址:www.92cb.com


無塵投料站的技術要素都有哪些?
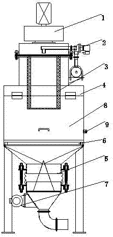
無塵投料站是一種包括離心風機、反吹氣囊、濾芯、料倉和活化料斗組成的設備,離心風機設于料倉上方;濾芯設于料倉內上部;反吹氣囊設于料倉外,反吹氣囊的出風口設于所述離心風機和所述濾芯之間;料倉底部設置有過濾大塊物料的濾網;料倉下方設有所述活化料斗,活化料斗上設有震動電機;料倉的一側設有料倉門,料倉門旁設有接近開關,接近開關電連接所述離心風機和反吹氣囊。
通過這種方案,無塵投料站主要是把小包裝物料需要拆包的進行拆包緩存,在拆包過程中打開投料站艙門,開啟離心風機讓無塵投料站內處于微負壓狀態,這樣在投料過程中揚起的灰塵都會收集到料倉內,等拆包完成后關閉艙門,接近開關接受到信號就會停止離心風機工作,同時反吹氣囊開始工作對濾芯進行反吹把吸到濾芯上的物料清理到料倉內,做到物料回收利用;拆包好的物料需要使用時可以從出口連接輸送管道把物料輸送走或直接重力落料方式下料,遇到容易架橋的物料可以開啟活化料斗震動破橋下料。
進一步優選的是,所述濾芯的上端邊緣設有用于固定的底座,料倉內上部設有配合所述濾芯的底座的支撐板,固定簡單穩定,濾芯和料倉配合無縫隙,有效的避免的微塵的溢出造成環境污染和物料浪費。
更進一步優選的是,活化料斗的出口設有可拆卸的收集箱,自動收料,拆裝方便。
更進一步優選的是,料倉門通過合頁連接所述料倉,所述料倉和料倉門之間設有氣彈簧支撐,通過該氣彈簧支撐控制所述料倉門的開關,操作簡單合理,有效支撐,方便投料。

有需要無塵投料設備的用戶歡迎來電定制或咨詢,熱線電話:15670558987 0373-3335055